2023年春天,李怡驱车再次开往通向省考的高速。她已经记不清这是自己第几次为了公考往返这条路。从2014年大学毕业后,她几乎每年都在经历备考、报名、进面、落榜,再重新来过。
那年她30岁,在当地的乡镇行政服务中心做了八九年的合同工,年收入一直稳定在八九万。虽然她和其他有编制同事在同一间办公室办公,工作内容也没有太大不同,但工资和福利待遇却差得很多。当初一起入职的几个有编制的同事,现在也已经成了她的领导。
“人家考上了,我没考上。差别就是这么来的。”李怡并不觉得不平衡,只是淡淡地承认。同时,她也认识到了考公考编的意义。
2023年是她第三次省考进面。前两次,她的总分都排第二,有一次甚至只差零点几分。第三次,她笔试考了70多分,又是第二,她决定再拼一把。
她不再是淘宝买书、自己刷题,而是 报名了中公教育的5天4夜协议面试班,交了1万块钱,合同写明不过退7500。

中公教育机构/图源:视觉中国
在众多考公机构中,她没有太多犹豫,直接选择了中公教育。一方面,作为提供国考(国家公务员)和省考(地方公务员)的培训服务商,中公是职业教育领域的龙头,另一方面,在李怡备考的这些年,她一直用中公的教材,已经习惯了它的教学模式。
更重要的是,李怡的丈夫在2022年也报过中公的面试班,但不是这种“部分退”,而是“不过全退”。后来丈夫没考上,中公很快全额退了2万多。那次退得顺利,让李怡觉得,像中公教育这样规模大、系统成熟的教培机构,至少不会赖账。
但接下来发生的一切,远比她想象得复杂。作为考公人信赖的考公培训机构们,看上去做的是一门“稳赚不赔”的生意,事实上在这两年却出现了爆雷的问题。

临时拼出的课堂
交钱后,李怡的体验感几乎从第一天开始就一路下滑。
入营前,她就隐隐觉得这个机构的组织混乱。比如,对接的工作人员一直不断更换酒店,最终方案拖到出发前一天才敲定;到了现场发现,培训被安排在饭堂隔壁的一间小房内,会议室都是与其他团队轮着用,“我们感觉像被赶来赶去”。

有报了中公省考班的网友发帖称感觉一片混乱/图源:@凌翛
老师也坦率地说,中公那边有点欠薪,他们是临时被拉过来顶班的。第一天的理论课还算完整,主要讲面试的答题框架和考试流程。后面四天是连续的模拟面试,时间和上班差不多,上午八点多开始,一整天都在练题、讨论、点评。
形式上是训练,但内容越来越单薄,没有新东西补充。到了后面几天,大家积极性不高,有些同学提前就走了,觉得没必要坚持。李怡没有走,她只想“既然钱花了,那就上完”。
培训结束两三天后,李怡就参加了正式的公务员面试。题型、节奏都和模拟差不多,她发挥稳定,面试成绩第一。但笔试分差太大,总排名依旧第二。
成绩出来后,她马上联系中公的老师申请退费。对方说要等最终录取名单公示,确认没有递补后才能走流程。直到2024年1月,她把成绩单与公示发送过去,对方很爽快地答应了,说帮她申请。
那时,她完全没想到,这会是一段漫长的开始。
刚开始一切都很顺利。李怡每次问,对方都会不断更新进度,告诉她“领导签批了”“录入系统了”“财政也批了”……但到了最后一步打款,就卡住了。

李怡与中公教育机构工作人员的对话截图/受访者供图
她开始一次次地催,对接老师从前期的耐心解释,逐渐变成“单子太多,要排队”,甚至说“你走起诉渠道可能快一点”。
拖到今年9月份,她在小红书发帖控诉退款难。帖子发完不久,中公的工作人员就主动联系她,并且换了个“售后老师”来谈退款方案。新方案是分期退款,每2年打500块。
她算了算,照这个速度,剩下的7500要退28年。而直到现在,中公连第一笔 500 元都没有退。
期间,中公提出“可以用其他课程抵扣”,她当场拒绝。她也咨询过律师,但律师费起步就要3000元,处理纠纷还得跑去北京仲裁,来回成本比退费本身更高。她说:“他们就是吃准这一点。”

“不过包退”埋下隐患
李怡的经历并不是孤例。过去两年里,“退费难”几乎成了中公学员最醒目的标签。
在黑猫投诉平台上,与中公教育相关的投诉累计超过10万条,其中多数与退费有关。从“拖延退款”“负责人失联”,到“只退部分费用”,几乎覆盖了职业培训机构可能出现的所有退费场景。
这类纠纷也集中体现在公开的司法数据里。根据公司公告披露,自2025年1月25日至7月15日,中公及其控股子公司新增诉讼、仲裁案件700件,涉案总额达5379.6万元,占公司2024年经审计净资产的7.43%。其中,退费类纠纷达到575件,涉案金额1150万元。

中公教育关于诉讼进展及新增累计诉讼、仲裁的公告
然而,在此之前,中公教育并不是一家容易被贴上“失信风险”标签的机构。
1999年成立以来,这家公司靠着公务员考试培训起家,随后扩展到事业单位招录、职业资格、学历提升等多个板块,长期被视为职业教育赛道的标杆。
中公教育也是最早在行业内推行“不过包退”协议班的机构。相比普通班,协议班的价格更高,普遍在2万到7万元之间,如果学员最终没通过考试,能按照协议退还一半以上的费用。
在当时,这种商业模式一度被视为“天才的发明”。
一方面,它极大降低了学员备考风险,对那些渴望通过考试改变命运的年轻人而言,几乎是“稳赚不赔”的选择。
另一方面,对同行业的其他机构来说,高额的协议班售价与快速回收的现金流,也使它在竞争中遥遥领先。
借着这个模式,中公教育的营收规模迅速膨胀。巅峰时期,公司年营收接近270亿元。
2019年,中公借壳上市,市值最高超过2600亿元,一度超过新东方和好未来,成为了“考公第一股”。那一年,中公教育的创始人李永新和母亲鲁忠芳以585亿元财富成为教育行业首富。

中公教育的创始人李永新
但是, 在盲目扩张后,这一商业模式也落下了后遗症。
“包退”这类模式本质上是一种“对赌”,培训机构将经营风险转嫁给了未来的自己,大量款项在账面上不能真正确认收入,必须由新学员的持续涌入来覆盖未来可能的退费。一旦生源增速放缓、考试通过率下降或政策收紧,这个模式就会出现断裂,最终受损的是预付高额学费的消费者。
2021年之后,这一隐患开始集中爆发。公开数据显示,2021年至2024年,中公营收连续四年下滑,分别同比下降38.3%、30.19%、36.03%、14.89%。同一时期,公司连续三年亏损,仅在2024年小幅扭亏。

中公教育2024年财报
退费率也急剧攀升。2021年起,中公教育的退费率一度超过65%,意味着每收进三笔协议班收入,就有两笔需要最终返还。
2022年,中公在安徽、山东等多地出现大规模学员维权事件,“退费难”成为行业公共事件。同年1月,公司宣布全面停止“不过包退”协议班。但对此前积累的大额退费负债而言,这一调整远远来得不够早。
截至2025年上半年,中公教育的待退费负债仍然高达4.82亿元。对学员来说,这意味着等待周期更长、对接难度更高;对企业而言,这是一份迟迟无法消化的财务包袱,也是拖住公司业务重整步伐的最大阻力。

考公越卷,行业越亏
考公热度不断升温。
2025年11月30日,又一年考公时间到来,千万人过独木桥。
据国家公务员局,中央机关及其直属机构2026年度考试录用公务员公共科目笔试有283.1万人参加考试,参加考试人数与录用计划数之比约达到了74∶1。

2026年度考试录用公务员公共科目笔试参加人数高达283.1万人
与此同时,《2026年度考试录用公务员公告》进一步放宽年龄限制,报考上限从35岁提高到38岁,研究生群体可放宽到43岁。这意味着,未来两年考公人数还可能持续走高。

2026年公务员考试放宽年龄限制
但报名曲线越往上走,中公教育的曲线反而越往下滑。过去4年,公司员工数从4.5万人降到7888人,直营分支机构从1669个缩减至681个。2025年前三季度,公司营业收入为16.57亿元,同比下降21.09%;归母净利润9197万元,同比下降45.31%。
最敏感的部分仍然是现金流。前三季度,中公的货币资金从年初的2.93亿元锐减至1.04亿元,降幅超过六成。财报解释,钱主要用于支付上年末工资和归还股东借款。
资金的紧张直接反映在学员能否按时退费上。按照最新的退费规则,2022—2023年报读协议班的学员,若退费金额超过2万元,公司一年只退一次,每次1000元;不足2万元的,一年退500元。2024年以后的协议班改成一年退两次,每次10%。退款节奏极慢,成为大量学员投诉的核心原因。
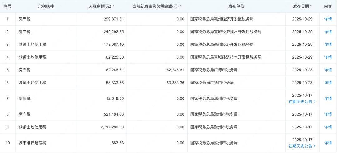
与此同时,财务与司法压力同步增加。三季报显示,公司在报告期内收到金融法院送达的44份应诉材料,涉案金额117万元。2025年以来,中公教育的欠税金额累计达到1085.5万元。到9月末,公司资产负债率达到86.35%,流动负债43.46亿元,而同期流动资产仅3.73亿元。

中公教育2025年以来的欠税情况截选/图源:企查查
公告中,中公教育承认控股股东负债较重,资金链紧张,并提示所持股份有被司法处置的风险,可能影响公司控制权的稳定。李永新在多个场合仍强调要把欠学员的费用“全部退清”,并在7月表示“等中公好起来,会把每一笔补上”。
但在现金流持续收缩的情况下,这句话更像是一种承诺,也是一种压力。
考公培训行业的另一家头部机构粉笔,也面临类似的趋势。
粉笔今年上半年营收14.92亿元,同比减少8.5%;净利润2.71亿元,同比减少22%。合约负债增加至2.278亿元,同比增长62%,意味着未来需要履行的预付课程义务在增多。
退款负债则从去年同期的1.735亿元降至1.282亿元,说明粉笔正在减少高退费风险的协议班占比。

粉笔2025年中期财报中披露的营收情况
市场竞争也在被重新塑形。粉笔在财报中提到,小红书、抖音、视频号等平台带动大量个人IP工作室和地方机构涌入市场,通过低价策略快速扩张。
一些跨界机构也进入考公培训领域,使本就紧张的市场更加分散。
这一切都在说明,考公热度不等于教培机构的繁荣。对于机构而言,红利期已远去,行业回到真正拼教学质量、内容效率和现金流基本功的时代。

AI转型,是风口吗?
在业务收缩与退费压力之外,考公培训机构们开始把目光投向新的业务方向。
过去一年,中公教育一边在直播间里复刻新东方的路径,一边高调进入硬件市场,推出自研大模型的“AI就业学习机”,价格从3999元到2万多元不等。公司在宣传里强调“自研大模型”,并把这台设备定位为面向考公、考编、考研等群体的智能学习工具,希望在传统培训的下降通道之外,打开另一个增长入口。
但在市场端,反馈并不热烈。财报显示,截至9月底,中公教育股东户数降至27.74万,环比下降近7%;与此同时,人均持股量上升,显示愿意继续加仓的投资者并不多,多数选择离场观望。

中公教育的持股情况
但在公司内部,这仍被视为一次必须尝试的转型。李永新在接受媒体采访时回溯公司过去18年的高速扩张,“一帆风顺”是常态,挫折来得反倒突然。他说,如今团队正在经历“组织重塑”,这种过程“很有意思”。
为了推动重塑,中公教育陆续推出了三项管理调整:让分校从“统一统筹”变为“自收自支”,把决策权分散到具体网点;推进年轻化组织更新,激发团队热情和干劲;同时重塑激励体系,将工资、奖金与收入和利润挂钩,重新明确提成制度,引入末位淘汰。
在更宏观的方向上,中公教育今年初确定了四个AI布局:恢复主业、推进AI业务、加大就业相关服务的并购、以及整体业务的AI化。其中, “AI就业”是被反复强调的关键词,几乎被视为公司未来最重要的押注。
行业另一头,粉笔也在做类似的尝试。今年4月,粉笔推出AI刷题系统班,半年内销售约5万人次,但AI业务收入只占总营收的1.3%。
粉笔声称将持续加大AI投入,但研发费用同比却下降1.8%。更现实的是,这些AI课程的9成用户本身就是平台的活跃学员,只是因为价格较低而转化,新用户的增量并不明显。

粉笔推出了AI刷题系统班
从结果上看,AI业务更像是培训行业在整体收缩期的一次被动应对。
市场竞争不断加剧,流量平台上大量个人讲师和地方机构加入竞争,价格端被拉低,行业龙头的优势不再像过去那样稳固。传统线下班的招生模式已经难以支撑曾经的体量,而AI的探索又远未形成新的商业闭环。
而在佛山的家里,李怡还在等待退款。她的退款流程已经拖了一年多,至今还没收到一分钱,她说自己已经不抱太大希望。“能退当然是好事,但我知道大概率等不到。”但她还是想告诉更多人,别再以同样的方式陷进去。
2025年,因为照顾刚出生的孩子,李怡没有参加考试。
如果明年条件允许,她还会再试一次。只是她补了一句,“我不会再报任何一个班了”。
上一篇:告别“烂梗社交”,从全民阅读开始
下一篇:没有了